VMRack 服务商目前有提供三网精品网络CN2 GIA、优化网络和原生IP方案可选,其中CN2 GIA精品网络是很多朋友喜欢选择的,而且近期的春季活动也是有促销活动,年付低至35美金,如果我们有需要可以试试。在这里老蒋也开通一台机器测试看看具体的参数信息。
| 型号 | CPU | 内存 | 存储 | 流量 | 带宽 | 年付 | 链接 |
| L3.VPS.1C1G.Base | 1vCPU | 1GB | 20GB | 600GB/月 | 500Mbps | $35 | 购买 |
| L3.VPS.1C2G.Base | 1vCPU | 2GB | 20GB | 1000GB/月 | 500Mbps | $49 | 购买 |
| L3.VPS.2C4G.Base | 2vCPU | 4GB | 60GB | 2000GB/月 | 500Mbps | $99 | 购买 |
我们先看看本地的PING速度。

晚上的速度还是比较稳定的,一般的主机商如果晚上测评高峰期可能会有丢包。

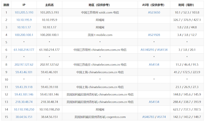
这里我们测试电信去程,确实是CN2 GIA。
电信去程从中国电信常州节点(AS23650)出发,经T – Mobile(AS21928)中转后,接入中国电信南京、上海骨干网(AS4134),最终通过Cogentco(AS174)抵达洛杉矶电信机房;国内段路由衔接顺畅、延迟低,国际段上海至洛杉矶跨洋延迟约144.8ms,整体为“电信骨干网 + 国际伙伴”混合架构,保障国内接入质量与国际链路可达性。

对于联通去程,我们可以看到联通去程从山东枣庄(AS4837)出发,经上海联通(AS4837/AS9929)节点后,由洛杉矶Cogentco(AS174)直达机房;国内段路由简洁、延迟低(枣庄→上海仅19ms级),国际段上海至洛杉矶跨洋延迟约146ms,整体路径依托联通骨干网与Cogentco直连,实现国内低延迟与国际链路的高效衔接。

然后看到的是移动去程。

三网回程测试,三网回程测试显示,该机房对国内三大运营商均具备优质线路支持:电信用户可走CN2GIA、CN2GT等精品线路,部分节点延迟低至40-60ms;联通用户可走4837、9929、163等优质线路,延迟表现稳定;移动用户则可通过CMI或移动CMIN2精品线路回国,延迟控制在合理区间。整体来看,该机房对三网回程均有针对性优化,尤其电信与移动的精品线路覆盖较广,适合对回程质量有较高要求的用户。

同时可以看到这个机器的IP兼容流媒体也是比较优秀的。
未经允许不得转载:老蒋玩开发 » 简单评测VMRack美国CN2 GIA三网精品网络VPS性能

微信关注,获取新知 






