丽萨主机商老蒋在前面也有多次介绍过,这个是一个主要提供ISP家宅VPS主机,而且还是原生IP,且考虑到我们国内的朋友操作速度均是CN2优化线路。在这里我们可以看到商家又提供的韩国原生IP VPS。
我们看到今天要测评的韩国VPS数据中心位于韩国首尔,双ISP CN2优化线路,国内访问速度是相当快的。如果我们选择不满意48小时还支持退款的,兼容大部分的韩国流媒体平台。
我们这里先看看本地我电信线路的速度延迟。

平均速度在30ms左右,这个和我们国内的速度还相当。

然后我们看看IP的类型,确实是检测到时ISP的IP。

全球节点的PING延迟测速可以看到丢包率很低。亚洲的速度更为明显。
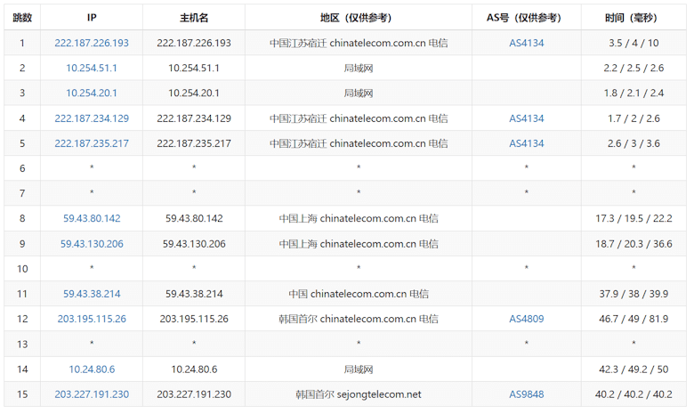
接下来我们看看电信、联通、移动三网去程路由线路情况。
电信去程:

联通去程:

移动去程:

从上面看,三网直连线路,确实是比较优秀的。电信网络走的是59.43的CN2优化线路。
下面是丽萨主机韩国VPS的套餐计划,如下所示:
| 核心 | 内存 | 硬盘 | 带宽和流量 | 月付 | 链接 |
| 1核 | 1G | 20G NVME | 100Mbps/3T | 99元 | 链接 |
| 2核 | 2G | 40G NVME | 150Mbps/5T | 188元 | 链接 |
| 4核 | 4G | 80G NVME | 200Mbps/10T | 388元 | 链接 |
| 2核 | 2G | 40G NVME | 50Mbps/不限 | 798元 | 链接 |
| 8核 | 8G | 80G NVME | 100Mbps/不限 | 1688元 | 链接 |
如果我们有需要韩国VPS,或者是性价比较高的原生韩国IP的服务器的可以看看,相比很多韩国本土的服务器价格确实有优势的。
未经允许不得转载:老蒋玩建站 » 丽萨主机韩国原生IP VPS 采用家宅ISP网络 解锁优秀

微信关注,获取新知 






