美国站群服务器租用哪个服务商?如果我们有需要多IP服务器的话,那最性价比的方案就是选择站群服务器这样平均性价比会更好一些。普通的服务器增加IP成本会高一些。这里推荐的华纳云美国站群服务器拥有可选253个可用ip地址,提供1C/253个、2C/250个 、4C/244个等三种CN2 GIA三网直连线路。

华纳云成立于2015年,隶属于香港联合通讯国际有限公司,是知名的IDC品牌、全球数据中心基础服务提供商。同时还包括香港、美国、新加坡等机房云服务器和独立服务器、高防服务器。
| 型号 | CPU | 内存 | 硬盘 | IP段 | 价格 | 购买 |
| A型 | E5-2660 | 16G | 500G | 1C/253个 | 1488 | 链接 |
| 2C/250个 | 1588 | 链接 | ||||
| 4C/244个 | 1688 | 链接 | ||||
| B型 | E5-2660 | 32G | 500G | 1C/253个 | 1688 | 链接 |
| 2C/250个 | 1788 | 链接 | ||||
| 4C/244个 | 1888 | 链接 | ||||
| C型 | E5-2660 | 64G | 500G | 1C/253个 | 2088 | 链接 |
| 2C/250个 | 2188 | 链接 | ||||
| 4C/244个 | 2288 | 链接 |
默认拥有20GB防御,可选50M CN2带宽或者是100M国际带宽。
购买美国站群服务器,提供50M CN2/100M国际带宽可选,下单还免费赠送20G ddos防御,1C/253个IP,最低1488元起。
美国站群服务器测试IP:154.23.188.254

可以看到本地Ping的延迟效果在184ms左右,这个延迟对于美国机房来说算是比较低的了。我们再看看全国Ping的延迟效果,如下所示:

可以看到三网Ping的平均延迟在162ms左右,可以看到电信和联通网络延迟差不多在160ms左右,移动网络稍微高点在185ms左右,不过延迟还是很低的。所以从延迟效果来看还是相当不错的。接下来我们再看看全球各节点的网络稳定性情况,如下所示:

可以看到全球各地网络稳定性都是相当不错的,不管是国内还是国外都基本没有丢包的情况,欧美地区除了网络稳定外,延迟都还是非常低的。下面我们看看三网的去程路由线路。
电信去程路由:

电信去程路由是从上海网口出去,经过圣何塞节点后到达洛杉矶节点。
联通去程路由:

联通去程路由是从上海网口出去,然后直连洛杉矶机房,并且走的是AS4837线路转AS9929的联通优化线路。
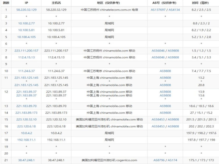
移动路由去程:

移动去程路由是从上海网口出去,然后直连洛杉矶机房。
接下来我们再看看三网回程路由线路情况。
电信回程路由:

电信回程路是直连回国,并且走的是59.43的CN2线路,相当不错的。接下来我们再看看这款美国站群服务器的性能和速度怎么样,如下所示:

可以看到服务器采用的是E5-2660 V2.2G的10核20线程处理器(也有20核40线程可选),磁盘V/O在210MB/秒左右,可以确定使用的是SSD固态硬盘,上传和下载速度都跑满了50Mbps,相当的不错的。
未经允许不得转载:老蒋玩开发 » 华纳云美国站群服务器租用方案和性能综合评测

微信关注,获取新知 






