搬瓦工商家提供的洛杉矶DC6和DC9两个线路均是CN2 GIA优化三网直连网络。如果我们需要有中美线路畅通的可以选择这2个线路。在前面的文章中,我们整理到DC6的线路的性能。在这篇文章中,我们整理DC9 CN2 GIA优化线路的性能速度。
我们先看看国内电信线路的PING延迟。

我这边是电信节点,可以看到PING延迟在130ms左右,速度还是很不错的。

然后我进行全球节点的PING测试,可以看到基本不丢包,稳定性相当可以,不愧为优质企业级网络。全球的PING速度也都是较为稳定。

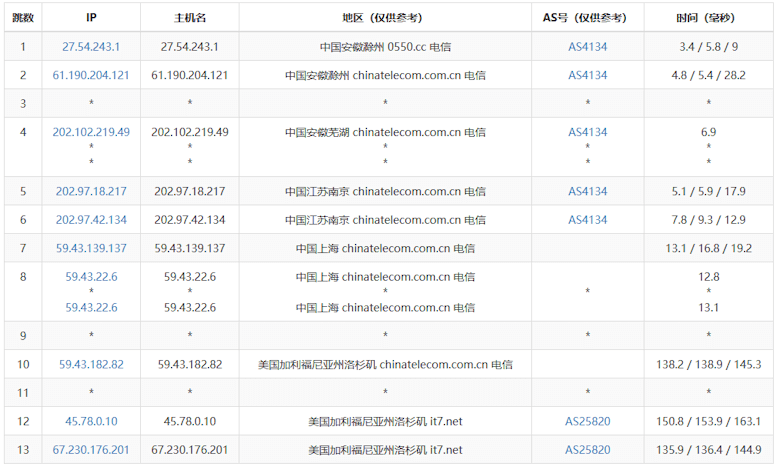
通过电信的去程可以看到走的CN2 GIA精品网络。

移动节点看到也是直连到美国的移动节点。
我们可以看到,搬瓦工VPS的DC9线路节点也是和DC6一样的优秀,2个都是可以选择的。我们在选择VPS套餐后,可以切换机房的。
未经允许不得转载:老蒋玩开发 » BWHVPS搬瓦工洛杉矶DC9 CN2 GIA精品网络速度和性能测评

微信关注,获取新知 







