BWHVPS服务商拥有一款欧洲数据机房的荷兰VPS,数据中心位于阿姆斯特丹。如果我们有需要欧洲数据中心的也可以选择的,当然如果我们选择多机房的套餐,是可以切换到荷兰机房的。对于荷兰机房而言,我们国内的朋友电信可能速度不够好,移动和联通的速度还是比较好的。在这篇文章中,老蒋来真实测试看看荷兰VPS的性能。
我们先本地的电信节点PING测试看看速度。

看到还是有一些丢包的。

对于海外节点可以看到丢包率还是正常的。采用的是1G带宽,下载和上传速率还算正常。

我们可以看到电信的去程还是稍微有一些绕的。

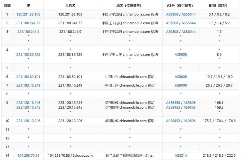
移动节点直接出口到英国伦敦节点再转到荷兰。

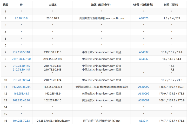
联通节点可以看到去程从德国到英国再到荷兰的。
对于有需要欧洲机房的来说,适合有海外业务的,国内业务速度可能会弱一些的。
未经允许不得转载:老蒋玩建站 » Bandwagonhost 搬瓦工荷兰阿姆斯特丹机房线路和性能综合测评

微信关注,获取新知 







